Hookline front view
Hookline front view
Hookline side view
Hookline side view
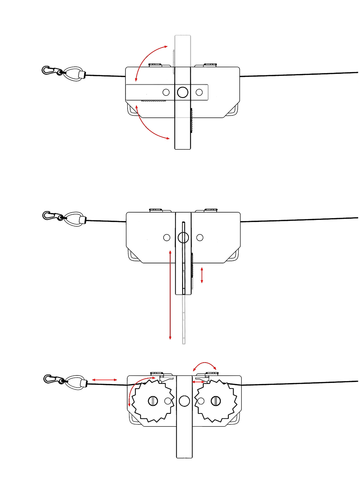
KONZEPT
Die Hookline (2024) ist ein kompaktes, leicht verstaubares Outdoor-System, das Haken und Wäscheleine kombiniert und zum Aufhängen von Kleidung, Lampen oder Lebensmitteln dient.






FUNKTIONEN
Das Hakengehäuse ist kugelgelagert drehbar und kann magnetisch in vier Positionen fixiert werden. 
Der Haken lässt sich über einen OFT-Mechanismus ein- und ausfahren. 
Zwei Drahtseile mit Karabinern ziehen sich automatisch per Federmechanik ein oder können mithilfe von Stoppern individuell fixiert werden und dienen zur flexiblen Befestigung.
Hookline features
Hookline features